Різбове з'єднання перебірне ED
Завантажити в PDFРізьбове з'єднання перебірне ED
-
НазваХарактеристики
-
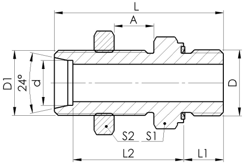
Тип з'єднанняпрямий адаптер
-
Ущільненняпо конусу 24ﹾ в порт
-
Різьбаметрична або дюймова зовнішня
-
МатеріалСталь
Технічні характеристики
Адаптер типу AGR
| НАЙМЕНУВАННЯ | СЕРІЯ | РОЗМІРИ | МАСА | ||||||||
| S1 | S2 | D | D1 | d | A | L | L1 | L2 | |||
| мм. | мм. | Inch | мм. | мм. | мм. | мм. | мм. | мм. | кг. | ||
| ED G1/8"/M12x1.5 6L | L | 17 | 17 | G1/8"-28 | M12x1,5 | 6 | 16 | 47,5 | 47,5 | 32,5 | |
| ED G1/4"/M14x1,5 8L | L | 19 | 19 | G1/4"-19 | M14x1,5 | 8 | 16 | 53 | 53 | 34 | |
| ED G1/4"/M16x1,5 10L | L | 22 | 22 | G1/4"-19 | М16х1,5 | 10 | 16 | 55 | 55 | 36 | |
| ED G3/8"/M16x1,5 10L | L | 22 | 22 | G3/8"-19 | М16х1,5 | 10 | 16 | 55,5 | 55,5 | 36,5 | |
| ED G3/8"/M18x1,5 12L | L | 24 | 24 | G3/8"-19 | М18х1,5 | 12 | 16 | 56,5 | 56,5 | 37,5 | |
| ED G1/2"/M22x1,5 15L | L | 27 | 30 | G1/2"-14 | М22х1,5 | 15 | 16 | 64 | 64 | 42,5 | |
| ED G1/2"/M26x1,5 18L | L | 32 | 32 | G1/2"-14 | М26х1,5 | 18 | 16 | 66 | 66 | 44,5 | |
| ED G3/4"/M26x1,5 18L | L | 32 | 32 | G3/4"-14 | М26х1,5 | 18 | 16 | 68 | 68 | 44,5 | |
| ED G3/4"/M30x2 22L | L | 36 | 41 | G3/4"-14 | М30х2 | 22 | 16 | 71 | 71 | 47,5 | |
| ED G1"/M36x2 28L | L | 41 | 41 | G1"-11 | М36х2 | 28 | 16 | 76 | 76 | 50,5 | |
| ED G1/4"/M14x1,5 6S | S | 19 | 19 | G1/4"-19 | М14х1,5 | 6 | 16 | 57 | 57 | 38 | |
| ED G1/4"/M16x1,5 8S | S | 22 | 22 | G1/4"-19 | М16х1,5 | 8 | 16 | 58 | 58 | 39 | |
| ED G3/8"/M18x1,5 10S | S | 24 | 24 | G3/8"-19 | М18х1,5 | 10 | 16 | 61 | 61 | 41,5 | |
| ED G3/8"/M20x1,5 12S | S | 27 | 27 | G3/8"-19 | М20х1,5 | 12 | 16 | 62 | 62 | 42,5 | |
| ED G1/2"/M22x1,5 14S | S | 30 | 30 | G1/2"-14 | М22х1,5 | 14 | 16 | 68 | 68 | 46 | |
| ED G1/2"/M24x1,5 16S | S | 32 | 24 | G1/2"-14 | М24х1,5 | 16 | 16 | 68 | 68 | 45,5 | |
| ED G3/4"/M30x2 20S | S | 41 | 41 | G3/4"-14 | М30х2 | 20 | 16 | 75 | 75 | 48,5 | |
| ED G1"/M36x2 25S | S | 46 | 41 | G1"-11 | М36х2 | 25 | 16 | 82 | 82 | 52 | |
Ви переглядали
Є питання?
Зв’яжіться з нами за вказаними контактами!