Клапан запобіжний (обриву) VUBA HSVP з корпусом MMF

Завантажити в PDF
Клапан запобіжний (обриву) VUBA HSVP з корпусом MMF
Клапан запобіжний (обриву) VUBA HSVP з корпусом MMF
Клапан запобіжний (обриву) VUBA HSVP з корпусом MMF
Клапан запобіжний (обриву) VUBA HSVP з корпусом MMF

Клапан запобіжний (обриву) VUBA HSVP з корпусом MMF

Клапан обриву VUBA використовується для запобігання неконтрольованому падінню вантажу у разі розриву трубопроводу (шланга). Клапан перекриває потік, що виходить з циліндра, фіксуючи вантаж на своєму місці. У разі перевищення заданих налаштувань (реакційний потік) клапан блокує потік. Цей клапан рекомендується використовувати разом із  клапаном регулювання потоку.

Замовити консультацію
Додати до обраного
  • Назва
    Характеристики
  • Максимальний робочий тиск
    350 bar
  • Максимальна витрата:
    від 20 л/хв. до 150 л/хв.
  • Макс. Витік (0÷5крапель/хв)
    0 ÷ 0.25 cm3 /min
  • Гідравлічна рідина
    DIN 51524 Mineral oils
  • В'язкість рідини
    10 ÷ 500 mm2 /s
  • Температура рідини
    -25°C ÷ 75°C
  • Температура навколишнього середовища
    -25°C ÷ 60°C
  • Макс. контамін. клас рівня з фільтром
    ISO 4406:1999 - class 19/17/14
Технічні характеристики
Адаптер типу AGR
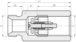
НАЙМЕНУВАННЯ РОЗМІРИ Маса
С V E L1 L2 L3
Inch мм. мм. мм. мм. мм. кг
HSVP 1/4"+MMF G1/4"-19 G1/4"-19 19 50 12 28 0,072
HSVP 3/8"+MMF G3/8"-19 G3/8"-19 24 58 13 31 0,145
HSVP 1/2"+MMF G1/2"-14 G1/2"-14 27 62 14 33 0,189
HSVP 3/4"+MMF G3/4"-14 G3/4"-14 32 75 16 40 0,298
Є питання?
Зв’яжіться з нами за вказаними контактами!
Напишіть нам — ми завжди на зв'язку!